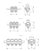
ЗАЖИМ ПЛАШЕЧНЫЙ ПА-3-2
Для соединения алюминиевых и сталеалюминиевых проводов в шлейфах анкерных опор ВЛ и осуществления отпаек.
Зажим марки ПА-3-2 (три болта) применяется также для крепления петли проводов при анкерном креплении на штыревых изоляторах.
ХАРАКТЕРИСТИКИ ПА-3-2
| Марка зажима | Рис. | Номинальное сечение, мм2, проводов по ГОСТ 839-80, марок | Диаметр проводов, мм | Размеры, мм | Масса, кг | ||||
|---|---|---|---|---|---|---|---|---|---|
| А, АКП; АН, АНКП, АЖ, АЖКП; АС, АСКП, АСКС, АСК | A | B | d | L | H | ||||
| ПА-3-2 | 2 | 95; 120; 95/16 | 12,3-14,0 | 37 | 56 | 15 | 96 | 64 | 0,70 |
Организация:
VoltAmper
Описание:
мы ценим качество
Телефон:
Скажите продавцу, что получили его номер телефона на Stroyka.uz. Уточняйте о возможных скидках.
Скажите продавцу, что получили его номер телефона на Stroyka.uz. Уточняйте о возможных скидках.
+998992228222
Комментарии